佐证材料说明
题目:无外线工程用水报装工程项目,企业从提交申请到用水接入的时间为______个工作日【包含事项:申请和完成用水报装(含现场踏勘、方案设计)、水表安装】? (请提供佐证材料:1.本地区获得用水相关政策文件中涉及时间的具体要求;2.本地区获得用水业务办理全流程图;3.若实现线上办理,请提供系统操作手册、操作视频、操作截图等材料;4.实际办理案例;5.全量工单。) |
|
回答:0.5个工作日 本地推行四“0”举措,获得用水时间再精简、速度再提升,服务质量再提高,实现非居民用户用水报装时间0.5个工作日。 |
|
16.1-政策文件 |
随州市出台用水报装相关文件 http://www.suizhou.gov.cn/ggqsydwxxgk/sdq/qy/szsswjt/zcfg/202308/t16230804_1131121.shtml 随州水务集团制发用水报装“四零”方案 http://www.suizhou.gov.cn/ggqsydwxxgk/sdq/qy/szsswjt/gzzd/202308/t16230804_1131127.shtml |
16.2-流程图 |
联动报装服务指南指导企业水电气网暖接入更方便快捷,完成前置服务,实现报装即接入 |
16.3-线上办理材料 |
水务集团通过工改系统提前获取项目信息,前置服务,实现报装即通水(提供工改系统操作手册、操作视频、操作截图) |
16.4-实际案例资料 |
企业用户用水接入全流程案例资料 |
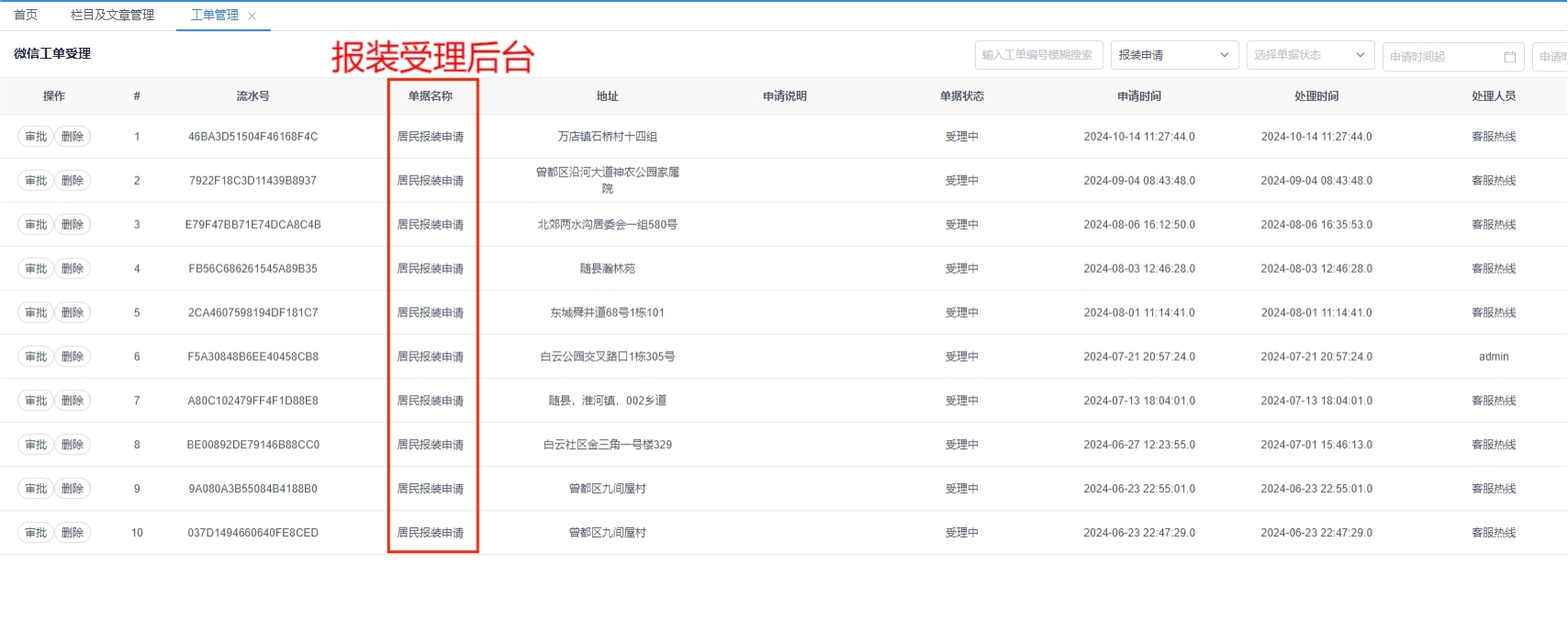
16.5-非居民用户办理用水报装全量工单数据统计清单 |
考评期内,企业用水接入全量名单 |
16.1-政策文件
1.关于进一步提高用水用气报装“100”服务质量和水平的通知
公示网址:
http://www.suizhou.gov.cn/ggqsydwxxgk/sdq/qy/szsswjt/zcfg/202308/t16230804_1131121.shtml
公示截图:
2.关于印发《随州市水务集团获得用水优化升级“四零”服务工作实施方案》的通知
公示网址:
http://www.suizhou.gov.cn/ggqsydwxxgk/sdq/qy/szsswjt/gzzd/202308/t16230804_1131127.shtml

16.2-流程图
16.3-线上办理材料
一、系统操作手册
二、操作截图
1.报装办理入口操作截图
工程建设项目审批平台报装入口
鄂汇办报装入口
2.系统后台获取项目信息
(1)水务集团服务后台操作截图
(2)工程建设审批平台操作截图
三、系统操作视频(具体视频文件附后16.3)
16.4-实际案例资料
“0000”服务案例 |
|
案例名称 |
品源随州现代农业发展有限公司给水工程 |
案例简述 |
获得项目信息后,我公司第一时间安排杨姓负责人进行对接,提前进行勘察,制定路线,做好预算,进行红线外工程施工,收到报装申请后,组织人员进行装表通水,报装即通水,得到企业一致好评。 |
案例亮点 |
1.“零环节”:客户需要用水时,即时通水; 2.“零跑腿”:安排“客服专员”全程上门服务,无需客户跑腿; 3.“零资料”:通过湖北省工程建设审批系统、湖北省政务服务平台获取项目信息,无需客户提报资料; 4.“零费用”:针对企业用户供水接入项目,工程设计、材料、监理、施工全部免费。 |
提供单位 |
随州市水务集团有限公司 |
16.5-非居民用户办理用水报装全量工单数据统计清单
(文件见后)